
米頓羅LMI電磁計量泵P066-368TI產地說明:
米頓羅LMI電磁隔膜計量泵是有美國米頓羅工廠生產,通過米頓羅各商訂貨信息,有漢勝工廠統一訂購,全到大陸;機械隔膜計量泵有上海漢勝米頓羅生產工廠(米頓羅亞太地區生產工廠)生產 ,各商定期采購,希望此說明能夠解除廣大客戶對米頓羅計量泵產地的疑慮。采購時請認準米頓羅外包裝、防偽編碼、水滴鑄標。
米頓羅LMI電磁計量泵P066-368TI選型須知/訂貨須知:
1、流量(L/h) 2、壓力(Mpa)
3、液體名稱及化學腐蝕性 4 、溫度(℃)
5、粘度(CP) 6、固體含量(對于漿料)
7、比重 8、自動控制方式
9、控制方式外部控制信號類型
米頓羅LMI電磁計量泵P066-368TI型號編碼及選型說明
P 0 5 6 ------ 3 9 8 T I
系列 控制 流量 電源 泵頭
分類 方式 壓力 插頭 編碼
米頓羅LMI電磁計量泵P066-368TI產品特點:
米頓羅LMI電磁隔膜計量泵精巧美觀,運動部件簡單,無需潤滑及傳動部件使得其工作性能更可靠、穩定。米頓羅計量泵采用自動過壓保護設計,無需外接閥等附件。1000:1的寬流量范圍調節,沖程頻率和沖程速度可調,并可直接響應脈沖信號(無源舌簧開關,晶體管或光耦觸點)及4-20mA信號(可編程),使得計量泵的自動控制更加方便。
應用范圍:
米頓羅LMI電磁計量泵廣泛應用于各類循環水處理應用、反滲透、泳池水處理、廢水處理及各種化學藥劑投加,以其的投加穩定性和低故障率深度用戶的好評。
LMI計量泵P系列,是屬于電磁式計量泵,流量大為12.1L/H,壓力高可達17.3bar,泵頭材質可選PVC,PVDF,316L,HV高粘度等泵頭。常用型號有:P026-358TI,P036-398TI,P046-358TI,P056-398TI,P066-368T,P086-368TI。
米頓羅LMI電磁計量泵P066-368TI圖片:

米頓羅LMI電磁計量泵P066-368TI結構圖:

米頓羅LMI電磁計量泵P066-368TI規格參數:


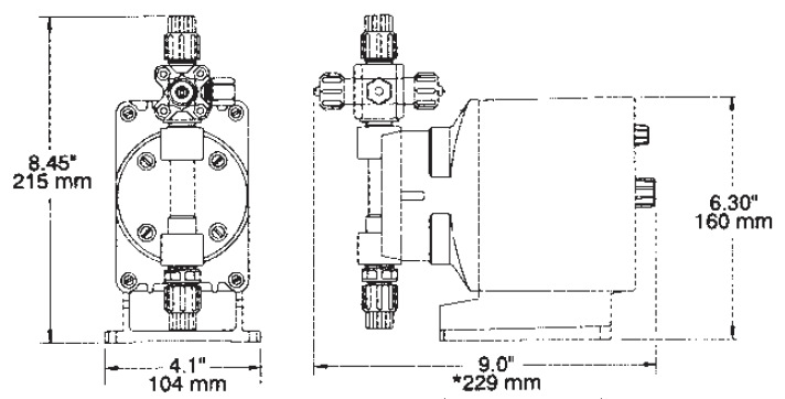
米頓羅LMI電磁計量泵P066-368TI安裝尺寸:
